******best365英国体育在线(中文)有限公司

计算机与信息科学学院行政管理权力运行工作流程图

2021-01-22 15:48 作者:本站编辑 审核: 浏览:

-

-

-

-

计算机与信息科学学院干部选拔任命工作流程图

计算机与信息科学学院公章使用工作流程图

计算机与信息科学学院盖章流程图

计算机与信息科学学院固定资产购置流程图



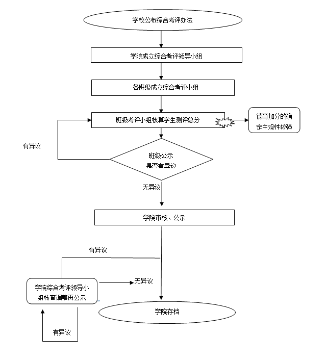
计算机与信息科学学院学生综合考评流程图